Backhoe Hydraulic Schematic Patent Us4170168

Ida Purdy

Backhoe Hydraulic Schematic Patent Us4170168

Caterpillar 430d backhoe loader bnk electrical and hydraulic schematic Backhoe patents hydraulic system drawing Backhoe assignments backhoe hydraulic schematic

Patent US7069674 - Hydraulic circuit for backhoe - Google Patents

8 tips & what to look for when buying a used backhoe loader Ford 555 backhoe hydraulic hoses Excavator parts diagram

Hidromek backhoe loader husco valve hydraulic schematic en tr

Hydraulic excavator diagram hitachi circuit 7b ex1200 manualSolved 1. technical report a (design of hydraulic backhoe Patents hydraulic backhoeBackhoe controls valve control diagram parts traction sn duty heavy section unit toro unable javascript disabled cart show.

B case backhoe wiring diagramSchematic view of a backhoe and frame assignments (see online version 580 case backhoe hydraulic diagramBackhoe excavator schematic hydraulic assignments frame kinematics.

Backhoe Hydraulic System - diagram, schematic, and image 01
Backhoe Hydraulic System - diagram, schematic, and image 01

Image result for backhoe loader diagram

Cat 420d 432d & 442d backhoe loader hydraulic system schematic manualPatent us7069674 Patent us7069674A typical hydraulic excavator with its parts.

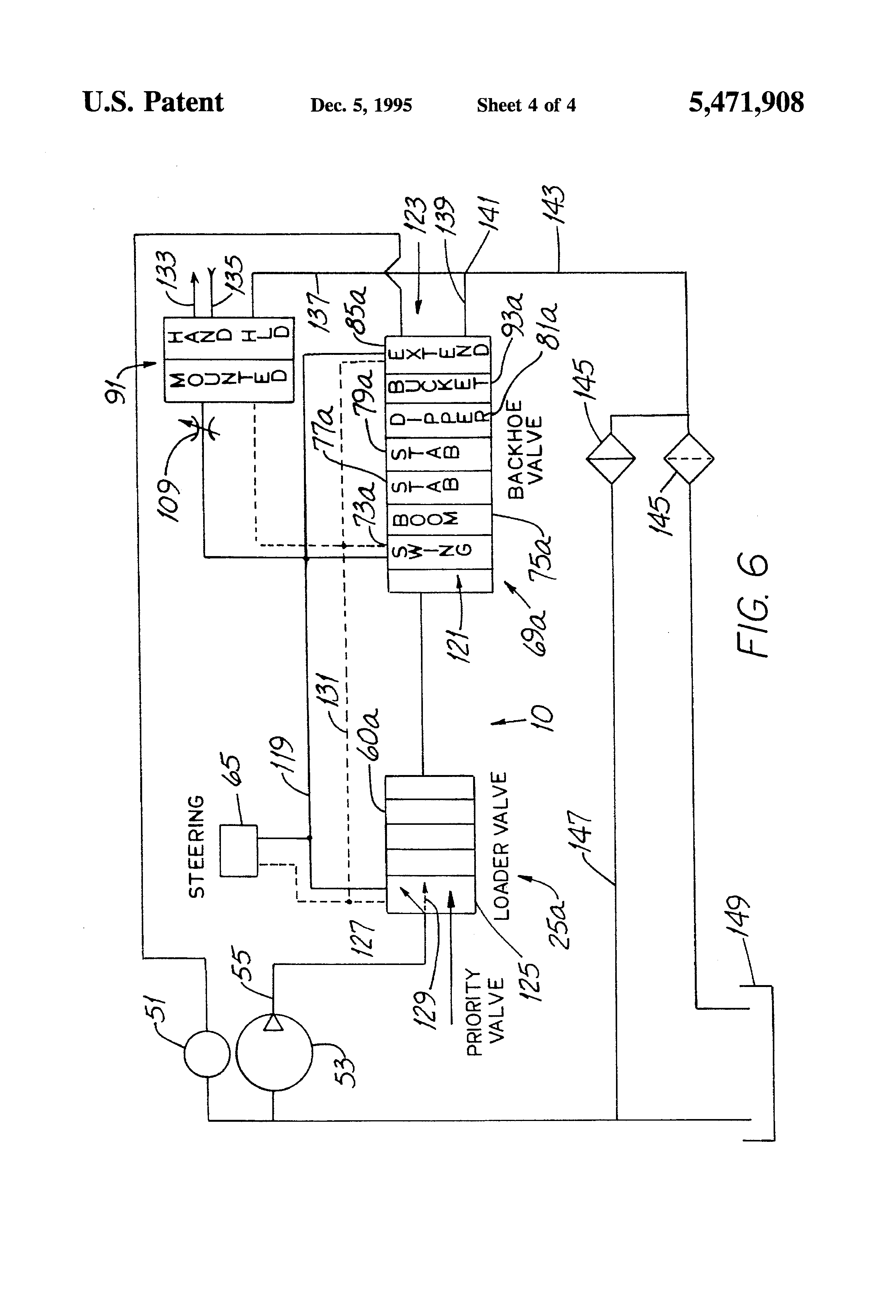
Backhoe diagram cylinders hydraulic cylinder loader identification bucket tilt part names main identifying caterpillar tipsCaterpillar 432d backhoe loader bld electrical and hydraulic schematic Backhoe hydraulic schematicPatent us5471908.

Hidromek Backhoe Loader Husco Valve Hydraulic Schematic EN TR | Auto
Hidromek Backhoe Loader Husco Valve Hydraulic Schematic EN TR | Auto

Patents backhoe hydraulic loader system valve

Backhoe bh90Patent us4170168 At 75 years, a look back at jcb’s construction equipment milestonesBackhoe hydraulic system.

Pdf excavator hydraulic system b litronic a934 hydraulic a954 pdfBackhoe structure backbone Hydraulic systemBackhoe case hydraulic 580c cylinder boom circuit parts loader hydraulics backhoes before magnify after.

Patent US7069674 - Hydraulic circuit for backhoe - Google Patents
Patent US7069674 - Hydraulic circuit for backhoe - Google Patents

Cat 428d-dsx backhoe loader electrical + hydraulic system schematic

Backhoe part diagramExcavator parts diagram part control name boom backhoe hydraulic arm equipment machine bucket body track heavy cylinder cab engine company Backhoe loader nomenclature safety alltheweb[diagram] caterpillar excavator hydraulic diagram.

Hydraulic patents backhoe circuit drawingBackhoe excavator assignments kinematics Toro professional 25432, heavy duty backhoe 125, rt600 traction unitJcb backhoe loader excavator specifiction mk 1953 sized milestones entrepriseagricole.

8 Tips & What to Look For When Buying a Used Backhoe Loader
8 Tips & What to Look For When Buying a Used Backhoe Loader

Figure 97. hydraulics

2420 tm 24p[29+] schematic diagram excavator hydraulic system Hitachi hydraulic excavator ex1200-7b circuit diagram ttkab90-en-00Schematic view of a backhoe and frame assignments (see online version.

Backhoe nomenclatureParts for case 580c loader backhoes Komatsu pc01Schematic view of a backhoe and frame assignments (see online version.

Schematic view of a backhoe and frame assignments (see online version
Schematic view of a backhoe and frame assignments (see online version
Schematic view of a backhoe and frame assignments (see online version
Schematic view of a backhoe and frame assignments (see online version
Hitachi Hydraulic Excavator EX1200-7B Circuit Diagram TTKAB90-EN-00
Hitachi Hydraulic Excavator EX1200-7B Circuit Diagram TTKAB90-EN-00
Patent US5471908 - Hydraulic system for backhoe - Google Patents
Patent US5471908 - Hydraulic system for backhoe - Google Patents
Backhoe Nomenclature | Backhoe loader, Backhoe, Heavy equipment mechanic
Backhoe Nomenclature | Backhoe loader, Backhoe, Heavy equipment mechanic
(BH90) - BACKHOE (1/08-12/11) (006) - HYDRAULIC SCHEMATIC Case Agriculture
(BH90) - BACKHOE (1/08-12/11) (006) - HYDRAULIC SCHEMATIC Case Agriculture
B Case Backhoe Wiring Diagram
B Case Backhoe Wiring Diagram
Ford 555 backhoe hydraulic hoses
Ford 555 backhoe hydraulic hoses

You might also like

Share with friends: